Vehicle Exploded View - PIAGGIO VU PORTER PICKUP 1400 Porter Pick 1400 cc Diesel 1998-2005
All the exploded views of this vehicle
Filter :
Or choose :
-
-
T01-00 Moteur
-
T01-01 Collecteur Admission et d'échapp.
-
T01-02 Esemble piston-Axe de piston
-
T01-03 Vilebrequin, cloche d'embrayage
-
T01-04 Arbre à cames culbuteurs
-
T01-05 Embase cylindre
-
T01-06 Injecteurs
-
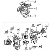
T01-07 Courroie pompe à eau
-
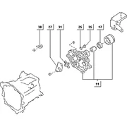
T01-08 Pompe carter à huile
-
T01-09 GR. Transmission régulateur
-
T01-10 Culasse
-
T01-11 Alternateur
-
T01-13 Jeu joints
-
T01-14 Pompe servofrein
-
T01-15 Filtre gazole
-
T09-01 Outils standard
-
T11-07 Support
-
T16-03 Radiateur
-
T17-02 Silencieux
-
T17-03 Filtre à air
-
T19-04 Moteur du démarreur
-
T31-01 Embrayage
-
T31-02 Pedal d'embr.
-
T33-01 Gr. Boîte Vitesses et jeu joints
-
T33-02 Carter embrayage et boîte à vitesse
-
T33-03 Logement arbre de transmission
-
T33-04 Pignon de compteur-Km.
-
T33-05 Pignons Boîte à Vitesse
-
T33-07 Fourchette chang. de vitesses
-
T33-12 Levier de vitesse
-
T37-01 Arbre de transmission
-
T41-01 Pont AR. avec différentiel
-
T41-02 Demi-arbre AR.
-
T41-03 Jante roue
-
T45-01/A Arbre et boîtier de direction
-
T45-01/B Arbre et boîtier de direction
-
T45-04 Volant
-
T45-05 Rotule Direction
-
T46-01 Frein à main
-
T47-01 Pédale frein
-
T47-02 Maître cylindre
-
T47-03 Tuyaux servofrein
-
T47-05 Etrier frein à disque AV.
-
T47-06 Disque porte mâchoires AR.
-
T47-08/A Circuit de Freinage
-
T47-08/B Circuit de Freinage
-
T47-08/C Circuit de Freinage
-
T48-01 Muyeu AV.
-
T48-02 Bras essieu AV.
-
T48-03 Amortisseur AV.
-
T48-04 Amortisseur AR.
-
T51-52 Traverse de suspension
-
T51-53 Porte roue de secours
-
T52-52 Pare-choc AV.
-
T53-51 Calandre
-
T55-51 Tableau de bord et Boîte à gants
-
T55-52 Couvercle phare
-
T55-54 Panneau AV. et Pare-brise
-
T58-51/A Panneau plancher AV.
-
T58-51/B Panneau plancher AV.
-
T58-52 Panneau Plancher AR.
-
T58-53 Panneau Isolant
-
T58-54/A Tapis
-
T58-54/B Tapis
-
T58-55 Console
-
T61-51 Panneau Latéral
-
T61-53 Pavillon
-
T64-52 Insonorisant Toit
-
T65-51 Plateau complet
-
T65-52/A Plancher AR.
-
T65-52/B Plancher AR.
-
T65-53 Dossier de cabine et portillon AR.
-
T65-54 Ridelle
-
T65-55 Ridelles et abattant en aluminium
-
T65-56 Caisse ouverte basc.
-
T65-57 Système de basculement
-
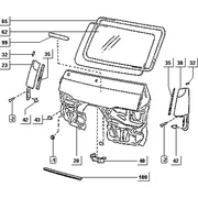
T67-51 Porte AV. et glace
-
T67-53 Serrure et poignée porte AV.
-
T67-54 Lève-vitre AV.
-
T67-63 Cylindre Serrure
-
T71-51 Siège
-
T71-52 Ceintures de sécurité
-
T74-51 Accoudoir et paresoleil
-
T74-54 Logement batterie
-
T74-55 Plaquettes instructions
-
T74-56 Cendrier
-
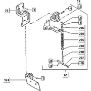
T75-51 Tablier et plaque
-
T77-51 Reservoir carb.
-
T78-51 Accélérateur
-
T81-01 Projecteur
-
T81-02 Anti-brouillard
-
T81-03 Indicateur Direction AV.
-
T81-06 Indicateur Direction Latérale
-
T81-11 Feu AR.
-
T81-12 Feu de recul
-
T81-13 Feu d'Immatric.
-
T81-21 Ampoule Int.
-
T82-01 Batterie
-
T82-02/A Faisceau de câbles
-
T82-02/B Faisceau de câbles
-
T83-01/A Instruments de bord
-
T83-01/B Instruments de bord
-
T84-01/A Interrupteur et Relais
-
T84-01/B Interrupteur et Relais
-
T85-01 Essui-glace AV.
-
T85-03 Lave-Glace AV.
-
T86-11 Avertisseur sonore
-
T87-01 Rétroviseur
-
T87-12 Groupe Chauffage
-
T87-15 Commande Chauffage et Conduit Air
-
T87-16 Tuyaux du chauffage