Eclatés de véhicule - VESPA VESPA PX 125 E 1998-2005
Tous les éclatés de ce véhicule
Filtrer :
Ou choisissez :
-
-
00.01 Accessoires
-
T1 Moteur
-
T10 Engrenage elastique
-
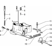
T11 Selecteur changement de vitesses
-
T12 Fixations selecteur changement de vitesses
-
T13 Engrenages changement de vitesses
-
T14 Volant magnetique
-
T15 Couvercle limaçon-Protection moteur
-
T16 Dispositif allumage electronique
-
T17 Melangeur automatique
-
T18 Carburateur-filtre a air
-
T19 Pieces composant le filtre a air
-
T19/A Boitier air secondaire
-
T2 Carter
-
T20 Pieces composant le carburateur
-
T21 Pieces composant le carburateur
-
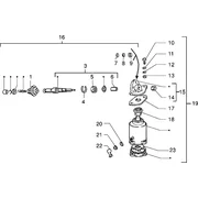
T22 Demarreur
-
T23 Tambour du frein ar.
-
T24 Machoires frein AR.
-
T25 Disque pare-poussiere-o-ring
-
T26 Silencieux
-
T27 Chassis
-
T28 Bequille
-
T29 Selle
-
T3 Fixations carter
-
T30 Reservoir carburant
-
T31 Reservoir d'huile
-
T32 Jauge d'essence
-
T33 Cache direction
-
T34 Capots-roue
-
T35 Serrure capots
-
T36 Coffre
-
T37 Sieges direction-antivol
-
T38 Tube de direction
-
T39 Amortisseur av.
-
T4 Oiffe-roulement de vilebrequin
-
T40 Amortisseur ar.
-
T41 Etrier de frein
-
T42 Marchepied
-
T43 Gardeboue AV.
-
T44 Tambour av.
-
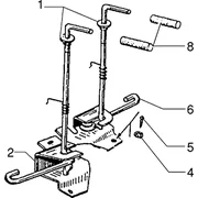
T45 Poignee comm. changement de vitesse
-
T46 Guidon-compteur kilometrique
-
T47 Pieces composant le guidon
-
T48 Pédale frein
-
T49 Transmission chang. vit.-frein av.
-
T5 Vilebrequin-ensamble bielle maneton
-
T50 Transmission embrayage-gaz
-
T51 Transmissions frein ar.-Compteur kilom.-starter
-
T52 Roue
-
T53 Groupe optique
-
T54 Feu AR.
-
T55 Dispositifs electriques
-
T56 Dispositifs electriques
-
T57 Clignotants
-
T58 Batterie-Régulateur
-
T59 Connexions electriques
-
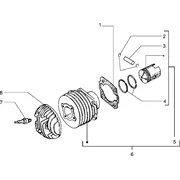
T6 Ensemble cylindre-piston-axe de piston
-
T60 Dispositifs electriques
-
T7 Couvercle d'embrague
-
T8 Embrayage
-
T9 Levier de demarrage