Vehicle Exploded View - APRILIA SXV 550 Pikes Peak 2009
All the exploded views of this vehicle
Filter :
Or choose :
-
-
28.01 Chassis
-
28.02 Repose-Pieds
-
28.03 Béquille
-
28.04 Direction I
-
28.05 Fourche I
-
28.06 Fourche II
-
28.07 Fourche arriere
-
28.08 Suspension arriere
-
28.09 Carrosserie av. I
-
28.10 Carrosserie av. II
-
28.11 Reservoir carburant
-
28.12 Réservoir huile
-
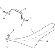
28.13 Selle
-
28.14 Carrosserie centrale
-
28.15 Carrosserie posterieure
-
28.16 Tableau de bord
-
28.17 Commandes
-
28.18 Installation refroidissement
-
28.19 Corps filtre
-
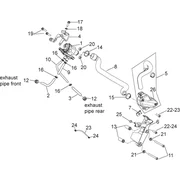
28.20 Groupe echappement
-
28.21 Roue Av.I
-
28.22 Roue Av.II
-
28.23 Roue arrière I
-
28.24 Roue arrière II
-
28.25 Sys.frein avant I
-
28.26 Sys.frein avant II
-
28.27 Sys.frein arrière
-
28.28 Feux
-
28.29 Circuit electrique I
-
28.30 Circuit electrique II
-
28.31 Groupe complementaire
-
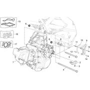
29.32 Moteur
-
29.33 Carter moteur I
-
29.34 Carter moteur II
-
29.35 Pompe huile
-
29.36 Lubrification
-
29.37 Arbre moteur
-
29.38 Cylindre av.piston
-
29.39 Tête cylindre
-
29.40 Soupapes
-
29.41 Plaquettes soupapes
-
29.42 Distribution cylindre avant
-
29.43 Distribution cylindre arrière
-
29.44 Arbre transmission
-
29.45 Selecteur boîte de vitesses I
-
29.46 Selecteur boîte de vitesses II
-
29.47 Arbre primaire
-
29.48 Arbre secondaire
-
29.49 Embrague I
-
29.50 Pompe à eau
-
29.51 Démarreur
-
29.52 Corps à papillon
-
29.53 Allumage
-
29.54 Air secondaire
-
29.55 Starter