mobile menu icon P2R logo

Vehicle Exploded View - DERBI SENDA SM 50 Senda SM 50 X-Race 2ver E2 2007-2009 (EMEA) DERBI

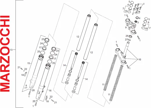
Suspensions - roues : 02B FOURCHE AV. MARZOCCHI
Fourche Av. MARZOCCHI
Search
00000004830 - BOULON TETE HEX.8M125X30 D933

1

P2R reference P2R reference
Maker reference Maker reference
More information

Quantity required : 1

00H00209741 - ENTRETOISE

2

P2R reference P2R reference
Maker reference Maker reference
More information

Quantity required : 1

NUT COVER "PIAGGIO GENUINE PART" GILERA 50 SMT, RCR 2006> -00H00202761

3

P2R reference P2R reference
Maker reference Maker reference
More information

Quantity required : 1

00H00206601 - ECROU

4

P2R reference P2R reference
Maker reference Maker reference
More information

Quantity required : 1

600136 - BOUCHON FOURCHE

5

P2R reference P2R reference
Maker reference Maker reference
More information

Quantity required : 1

AP8123697 - BAGUE DE BUTEE;

6

P2R reference P2R reference
Maker reference Maker reference
More information

Quantity required : 1

600121 - BOULON FOURCHE

7

P2R reference P2R reference
Maker reference Maker reference
More information

Quantity required : 1

323990 - TENDEUR

8

P2R reference P2R reference
Maker reference Maker reference
More information

Quantity required : 1

00H00221091 - ETRIER FIX. GUIDON

9

P2R reference P2R reference
Maker reference Maker reference
More information

Quantity required : 1

00H00220011 - PLATINE INF. AVEC PIVOT

10

P2R reference P2R reference
Maker reference Maker reference
More information

Quantity required : 1

00H00220171 - R-MUELLE HORQU.SM X-RACE 05

11

P2R reference P2R reference
Maker reference Maker reference
More information

Quantity required : 1

00H00208191 - BARRE DE FOURCHE

12

P2R reference P2R reference
Maker reference Maker reference
More information

Quantity required : 1

FRONT FORK "PIAGGIO GENUINE PART" GILERA 50 SMT 2006> -86122R

13

P2R reference P2R reference
Maker reference Maker reference
More information

Quantity required : 1

00H00212531 - R-CTO.TUBO HIDRAU.SM X-RACE 05

14

P2R reference P2R reference
Maker reference Maker reference
More information

Quantity required : 1

00H02017031 - BOUCHON DROITE

15

P2R reference P2R reference
Maker reference Maker reference
More information

Quantity required : 1

00H02027041 - R-CTO.PRNA.IZ.HORQ.SM X-RACE05

16

P2R reference P2R reference
Maker reference Maker reference
More information

Quantity required : 1

FORK OIL SEAL MARZOCCHI "PIAGGIO GENUINE PART" APRILIA 125 ATLANTIC, SCARABEO, LEONARDO, 50 RS, SX, RX -600126

17

P2R reference P2R reference
Maker reference Maker reference
More information

Quantity required : 1

REFLECTOR - ON FORK "PIAGGIO GENUINE PART" GILERA 50 SMT, RCR/APRILIA 50 SX, RX -00H01802081

18

P2R reference P2R reference
Maker reference Maker reference
More information

Quantity required : 1

00H00202451 - RONDELLE

19

P2R reference P2R reference
Maker reference Maker reference
More information

Quantity required : 1

00000031080 - ROND. PLATE MECANISEE

20

P2R reference P2R reference
Maker reference Maker reference
More information

Quantity required : 1

00008061500 - VIS A TETE RONDE 6M100X16

21

P2R reference P2R reference
Maker reference Maker reference
More information

Quantity required : 1

00031106000 - RONDELLE PLATE D6

22

P2R reference P2R reference
Maker reference Maker reference
More information

Quantity required : 1

FORK DUST COVER - "PIAGGIO GENUINE PART" 125 X9 2003>2005/APRILIA 125-250-300-400-500 ATLANTIC, 125-250 SCARABEO, 125-250 LEONARDO50 MX, RS 1999>2005, RX 1995>2004 -600127

23

P2R reference P2R reference
Maker reference Maker reference
More information

Quantity required : 1

600125 - CIRCLIPS

24

P2R reference P2R reference
Maker reference Maker reference
More information

Quantity required : 1

600128 - RONDELLE

25

P2R reference P2R reference
Maker reference Maker reference
More information

Quantity required : 1

NUT - FOR UPPER FORK PLATE "PIAGGIO GENUINE PART" GILERA 50 SMT, RCR/APRILIA 50 SX, RX -00G00200112

26

P2R reference P2R reference
Maker reference Maker reference
More information

Quantity required : 1

00D00200761 - CACHE POUSSIERE DIRECTION

27

P2R reference P2R reference
Maker reference Maker reference
More information

Quantity required : 1

All the exploded views of this vehicle

Filter :
Or choose :