mobile menu icon P2R logo

Vehicle Exploded View - APRILIA SCARABEO 4T 100 E3 2006-2009 APRILIA

Moteur : 29.40 VARIATEUR
Variateur
Search
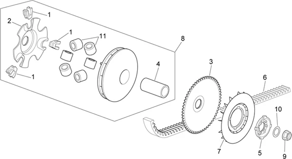
VARIATOR SLIDING BLOCK "PIAGGIO GENUINE PART" 50 ZIP 1996>, TYPHOON 1996>, FLY 2005>, LIBERTY 1998>, NRG 1998>, VESPA LX 2005>, VESPA-S 2007>/GILERA 50 STALKER, RUNNER 1997>/APRILIA 50 SR 2011> -289931

1

P2R reference P2R reference
Maker reference Maker reference
More information

Quantity required : 3

VARIATOR ROLLERS CONTRAST "PIAGGIO GENUINE PART" COMMON TO THE RANGE SCOOTER 50 CC -480227

2

P2R reference P2R reference
Maker reference Maker reference
More information

Quantity required : 1

DRIVE HALF PULLEY "PIAGGIO GENUINE PART" 50 TYPHOON 2005>, ZIP 2000>, FLY ET 2005>, LIBERTY 2 stroke 2005>, NRG 2005>, VESPA LX 2005>, VESPA-S 2007>/GILERA 50 STALKER 2005>/APRILIA 50 SR 2012> -479561

3

P2R reference P2R reference
Maker reference Maker reference
More information

Quantity required : 1

SPACER- VARIATOR MAIN BUSH "PIAGGIO GENUINE PART" COMMON TO THE RANGE SCOOTER 50 CC -480230

4

P2R reference P2R reference
Maker reference Maker reference
More information

Quantity required : 1

KICK STARTER TEETHED BUSH "PIAGGIO GENUINE PART" COMMUN GAMME SCOOTER 50 2 stroke + 4 stroke -877075

5

P2R reference P2R reference
Maker reference Maker reference
More information

Quantity required : 1

BELT "PIAGGIO GENUINE PART" 100 LIBERTY/APRILIA 100 SCARABEO -82646R

6

P2R reference P2R reference
Maker reference Maker reference
More information

Quantity required : 1

FAN - DRIVING PULLEY "PIAGGIO GENUINE PART" 50 TYPHOON 2004>, NRG 2005>, ZIP 2000>, VESPA LX 2005>, FLY 2005>/APRILIA 50 SR 2010>/GILERA 50 STALKER 2003>, RUNNER 2004 -845611

7

P2R reference P2R reference
Maker reference Maker reference
More information

Quantity required : 1

CM110309 - DEMI POULIE

8

P2R reference P2R reference
Maker reference Maker reference
More information

Quantity required : 1

NUT - FOR VARIATOR "PIAGGIO GENUINE PART" COMMON TO THE RANGE SCOOTER 50 CC -289519

9

P2R reference P2R reference
Maker reference Maker reference
More information

Quantity required : 1

DRIVING PULLEY WASHER (23x15x0,5) "PIAGGIO GENUINE PART" COMMON TO THE RANGE SCOOTER 50 CC 2 stroke ET 4 stroke -265300

10

P2R reference P2R reference
Maker reference Maker reference
More information

Quantity required : 1

VARIATOR ROLLER "PIAGGIO GENUINE PART" APRILIA 100 SCARABEO -8296385

11

P2R reference P2R reference
Maker reference Maker reference
More information

Quantity required : 6

All the exploded views of this vehicle

Filter :
Or choose :