Eclatés de véhicule - MOTO GUZZI CALIFORNIA 1100 California Vintage 1100 2006-2010
Tous les éclatés de ce véhicule
Filtrer :
Ou choisissez :
-
-
33.01 Chassis
-
33.02 Bras-Repose Pieds
-
33.03 Levier boîte de vitesses
-
33.04 Béquille
-
33.05 Réservoir essence
-
33.06 Selle-Carrosserie cent.
-
33.07 Garde-boue Av.
-
33.08 Garde-boue Ar.
-
33.09 Porte bagages-Valises supports
-
33.10 Pare-brise
-
33.11 Protection pied-pare chocs AV
-
33.12 Side cases
-
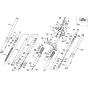
33.13 Fourche av.-Suspension ar.
-
33.14 Fourche Av.
-
33.15 Transmission cpl. I
-
33.16 Transmission cpl. II
-
33.17 Alimentation
-
33.18 Pompe essence
-
33.19 Corps filtre
-
33.20 Groupe echappement
-
33.21 Roue Av.
-
33.22 Roue arrière
-
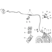
33.23 Sys.frein avant d.
-
33.24 Sys.frein avant g.
-
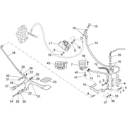
33.25 Pince frein AR
-
33.26 Maît.cyl. frein AR
-
33.27 Guidon - Commandes
-
33.28 Tableau de bord
-
33.29 Feux I
-
33.30 Feux II
-
33.31 Feux arriere
-
33.32 Installation electrique
-
33.33 Circuit electrique
-
33.34 Kit serrure
-
33.35 Plaquettes-decal.
-
33.52 Sys.récup.vap.ess.
-
34.36 Carter
-
34.37 Culasses I
-
34.38 Culasses II
-
34.39 Embiellage - Piston
-
34.40 Distribution
-
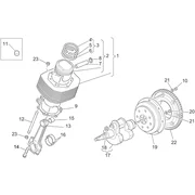
34.41 Pompe huile I
-
34.42 Pompe huile II
-
34.43 Embrayage
-
34.44 Carter de boîte vitesses
-
34.45 ARBRE PRIMAIRE BOITE DE VITESSES
-
34.46 Arbre secondaire
-
34.47 Alternateur - Régul.
-
34.48 Démarreur
-
34.49 Couvercle démarreur
-
34.50 Corps à papillon
-
36.51 OUTILLAGE SPECIAL