mobile menu icon P2R logo

Vehicle Exploded View - APRILIA RXV 550 Vdb-Merriman 2008 APRILIA

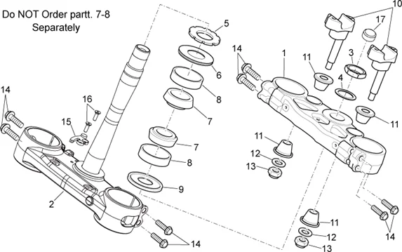
Chassis : 28.04 DIRECTION I
Direction I
Search
855312 - PLAQUE SUPERIEURE

1

P2R reference P2R reference
Maker reference Maker reference
More information

Quantity required : 1

855313 - BASE AVEC TUBE

2

P2R reference P2R reference
Maker reference Maker reference
More information

Quantity required : 1

AP9100026 - DADO PERNO DI STERZO

3

P2R reference P2R reference
Maker reference Maker reference
More information

Quantity required : 1

AP9100028 - RONDELLA

4

P2R reference P2R reference
Maker reference Maker reference
More information

Quantity required : 1

AP9100021 - GHIERA PERNO DI STERZO

5

P2R reference P2R reference
Maker reference Maker reference
More information

Quantity required : 1

AP9100204 - ANELLO DI TENUTA SUP.CANNOTTO

6

P2R reference P2R reference
Maker reference Maker reference
More information

Quantity required : 1

851029 - ROULEMENT

7

P2R reference P2R reference
Maker reference Maker reference
More information

Quantity required : 2

851030 - ROULEMENT

8

P2R reference P2R reference
Maker reference Maker reference
More information

Quantity required : 2

LOWER FORK PLATE GASKET "PIAGGIO GENUINE PART" APRILIA 750-900 SHIVER, DORSODURO -AP9100205

9

P2R reference P2R reference
Maker reference Maker reference
More information

Quantity required : 1

AP9100293 - ASSIEME MORSETTO INF.MANUBRIO

10

P2R reference P2R reference
Maker reference Maker reference
More information

Quantity required : 2

AP9100412 - SILENT BLOCK MANUBRIO

11

P2R reference P2R reference
Maker reference Maker reference
More information

Quantity required : 4

AP9100776 - RONDELLA D10.1-D23-SP2,5

12

P2R reference P2R reference
Maker reference Maker reference
More information

Quantity required : 2

AP9100439 - DADO AUTOBL.BASSO M10X1.25

13

P2R reference P2R reference
Maker reference Maker reference
More information

Quantity required : 2

AP8152290 - VIS BRIDE

14

P2R reference P2R reference
Maker reference Maker reference
More information

Quantity required : 8

Plaquette

15

P2R reference P2R reference
Maker reference Maker reference
AP8150064 - VIS FHC

16

P2R reference P2R reference
Maker reference Maker reference
More information

Quantity required : 2

AP8144516 - BOUCHON POIGNEE

17

P2R reference P2R reference
Maker reference Maker reference
More information

Quantity required : 1

All the exploded views of this vehicle

Filter :
Or choose :