mobile menu icon P2R logo

Vehicle Exploded View - APRILIA ATLANTIC 250 2006-2008 APRILIA

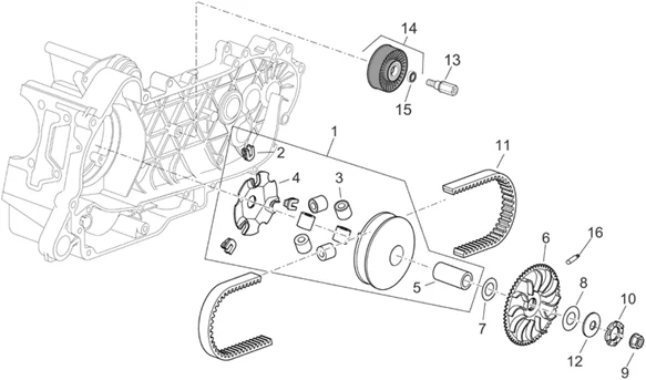
Moteur : 29.54 GROUPE VARIATEUR
Groupe variateur
Search
TRANSMISSION KIT"PIAGGIO GENUINE PARTS" BELT,ROLLERS,GUIDES- 300 MP3, YOURBAN, X7, VESPA GTS/GILERA 300 NEXUS, SR-MAX/APRILIA 300 ATLANTIC -1R000447

00

P2R reference P2R reference
Maker reference Maker reference
More information

Quantity required : 1

TRANSMISSION KIT"PIAGGIO GENUINE PARTS" BELT,ROLLERS,GUIDES- 125 DNA, HEXAGON GTX, X9/ATLANTIC 125-250 2003>2008 -1R000433

00

P2R reference P2R reference
Maker reference Maker reference
More information

Quantity required : 1

DRIVING PULLEY/VARIATOR "PIAGGIO GENUINE PART" 300 MP3, BEVERLY, VESPA GTS, X7/GILERA 250-300 NEXUS/APRILIA 250-300 ATLANTIC, SCARABEO, SPORT-CITY CUB, 300 SR-MAX -CM1444085

1

P2R reference P2R reference
Maker reference Maker reference
More information

Quantity required : 1

DRIVING PULLEY "PIAGGIO GENUINE PART" 125 MP3, BEVERLY, X7, X8, X9, X-EVO, GTS/APRILIA 125 ATLANTIC -CM144403

1

P2R reference P2R reference
Maker reference Maker reference
More information

Quantity required : 1

VARIATOR SLIDING GUIDE "PIAGGIO GENUINE PART" 125 MP3 2007>, X8 2004>, X9 2003>, X-EVO 2007>, FLY 2005>, VESPA LX 2005>, VESPA GTS 2007>/GILERA 125 NEXUS 2007>, RUNNER 2005> -4348555

2

P2R reference P2R reference
Maker reference Maker reference
More information

Quantity required : 3

VARIATOR SLIDING GUIDE "PIAGGIO GENUINE PART" 250-300 MP3 2006>2018, 250 X7, X8, X9 2005>2008/VESPA 250-300 GTS-GTV 2005>2018 -843028

2

P2R reference P2R reference
Maker reference Maker reference
More information

Quantity required : 3

VARIATOR ROLLER "PIAGGIO GENUINE PART" APRILIA 250-300 ATLANTIC/GILERA 250-300 NEXUS/PIAGGIO 250-300 BEVERLY, 300 MP3, YOURBAN, VESPA 300 GTS (14 g) (sold per unit) -849480

3

P2R reference P2R reference
Maker reference Maker reference
More information

Quantity required : 6

VARIATOR ROLLER "PIAGGIO GENUINE PART" 125 BEVERLY, X9, MP3, X10, X7, X-EVO, VESPA GTS/APRILIA 125 ATLANTIC, SPORT-CITY, SR-MAX, SCARABEO/GILERA 125 NEXUS, RUNNER (7,4 g) (set of 6) -CM1038045

3

P2R reference P2R reference
Maker reference Maker reference
More information

Quantity required : 1

VARIATOR ROLLER CONTRAST "PIAGGIO GENUINE PART" COMMON TO THE RANGE MAXISCOOTER 125-250-300 CC -842204

4

P2R reference P2R reference
Maker reference Maker reference
More information

Quantity required : 1

483889 - ENTRETOISE

5

P2R reference P2R reference
Maker reference Maker reference
More information

Quantity required : 1

DRIVE PULLEY "PIAGGIO GENUINE PART" 125 X-EVO 2007>, X8 2004>, X9 2003>, MP3 2007>, VESPA GTS 2007>/GILERA 125 NEXUS 2007> -8456075

6

P2R reference P2R reference
Maker reference Maker reference
More information

Quantity required : 1

DRIVE PULLEY "PIAGGIO GENUINE PART" COMMON TO THE RANGE 250-300 MAXISCOOTER -840193

6

P2R reference P2R reference
Maker reference Maker reference
More information

Quantity required : 1

DRIVING PULLEY WASHER WASHER "PIAGGIO GENUINE PART" COMMON TO THE RANGE MAXISCOOTER 125-250-300 -434885

7

P2R reference P2R reference
Maker reference Maker reference
More information

Quantity required : 1

DRIVING PULLEY WASHER "PIAGGIO GENUINE PART" COMMON TO THE RANGE MAXISCOOTER 125 CC -433391

8

P2R reference P2R reference
Maker reference Maker reference
More information

Quantity required : 1

840533 - JOINT

8

P2R reference P2R reference
Maker reference Maker reference
More information

Quantity required : 1

Écrou

9

P2R reference P2R reference
Maker reference Maker reference
NUT - FOR IGNITION FLYWHEEL/CLUTCH "PIAGGIO GENUINE PART" COMMON TO ALL THE RANGE MAXISCOOTER 125-250 -B015804

9

P2R reference P2R reference
Maker reference Maker reference
More information

Quantity required : 1

KICK STARTER PINION "PIAGGIO GENUINE PART" COMMON TO THE RANGE MAXISCOOTER 125 -827386

10

P2R reference P2R reference
Maker reference Maker reference
More information

Quantity required : 1

BELT "PIAGGIO GENUINE PART" 125 LIBERTY, MP3, X7, X8, X9, X-EVO, FLY, VESPA LX, VESPA GTS, YOURBAN/APRILIA 125 ATLANTIC, SR-MAX/GILERA 125 NEXUS, RUNNER -841213

11

P2R reference P2R reference
Maker reference Maker reference
More information

Quantity required : 1

BELT "PIAGGIO GENUINE PART" 250 X9-EVO, MP3, X7, X8, X-EVO, VESPA GTS, 300 MP3, VESPA GTS/APRILIA 300 SR-MAX/GILERA 250-300 NEXUS -82941R

11

P2R reference P2R reference
Maker reference Maker reference
Replaced by référence
More information

Quantity required : 1

BELT "PIAGGIO GENUINE PART" PIAGGIO 300 MP3 HPE 2019>, GTS 2018> VESPA GTV 2019> -1A009598

11

P2R reference P2R reference
Maker reference Maker reference
More information

Quantity required : 1

DRIVING PULLEY SPRING WASHER "PIAGGIO GENUINE PART"COMMON TO THE RANGE MAXISCOOTER 125-250-300 CC -880950

12

P2R reference P2R reference
Maker reference Maker reference
More information

Quantity required : 1

828217 - VIS

13

P2R reference P2R reference
Maker reference Maker reference
More information

Quantity required : 1

Poulie dentée

14

P2R reference P2R reference
Maker reference Maker reference
82577R - ROULEMENT

15

P2R reference P2R reference
Maker reference Maker reference
More information

Quantity required : 1

VARIATOR PIN "PIAGGIO GENUINE PART" COMMON TO THE RANGE MAXISCOOTER 125-250 CC -432204

16

P2R reference P2R reference
Maker reference Maker reference
More information

Quantity required : 1

All the exploded views of this vehicle

Filter :
Or choose :