Icone menu mobile Logo P2R
Créer un compte

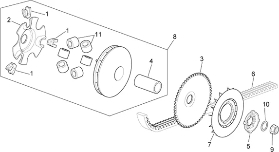
Eclatés de véhicule - APRILIA SCARABEO 4T 100 E3 Net 2009 APRILIA

Moteur : 29.40 VARIATEUR
Variateur
Rechercher
GUIDE/PATIN DE VARIATEUR ORIGINE PIAGGIO 50 ZIP 1996>, TYPHOON 1996>, FLY 2005>, LIBERTY 1998>, NRG 1998>, VESPA LX 2005>, VESPA-S 2007>/GILERA 50 STALKER, RUNNER 1997>/APRILIA 50 SR 2011> -289931

1

Référence P2R Référence P2R
Référence constructeur Référence constructeur
Plus d'informations

Quantité requise : 3

LOGEMENT/FLASQUE GALETS ORIGINE PIAGGIO COMMUN A LA GAMME SCOOTER 50 CC -480227

2

Référence P2R Référence P2R
Référence constructeur Référence constructeur
Plus d'informations

Quantité requise : 1

JOUE FIXE VARIATEUR SCOOT ORIGINE PIAGGIO 50 TYPHOON 2005>, ZIP 2000>, FLY 2T 2005>, LIBERTY 2005>, NRG 2005>, VESPA LX 2005>, VESPA-S 2007>/ 50 STALKER 2005>/APRILIA 50 SR 2012> 50 SXR 2021> -479561

3

Référence P2R Référence P2R
Référence constructeur Référence constructeur
Plus d'informations

Quantité requise : 1

ENTRETOISE/CANON DE VARIATEUR ORIGINE PIAGGIO 50 TYPHOON, NRG, ZIP, LIBERTY, VESPA LX, VESPA-S/APRILIA 50 SR/GILERA 50 STALKER, RUNNER, DNA/APRILIA 50 SR MOTARD -480230

4

Référence P2R Référence P2R
Référence constructeur Référence constructeur
Plus d'informations

Quantité requise : 1

ROCHET DE KICK ORIGINE PIAGGIO COMMUN GAMME SCOOTER 50 2T ET 4T -8770756

5

Référence P2R Référence P2R
Référence constructeur Référence constructeur
Plus d'informations

Quantité requise : 1

COURROIE ORIGINE PIAGGIO APRILIA 100 SCARABEO 2000> -82646R

6

Référence P2R Référence P2R
Référence constructeur Référence constructeur
Plus d'informations

Quantité requise : 1

DISQUE VENTILATEUR DE POULIE MOTRICE ORIGINE PIAGGIO 50 TYPHOON 2004>, NRG 2005>, ZIP 2000>, VESPA LX 2005>, FLY 2005>/APRILIA 50 SR 2010> 50 SXR 2021>/GILERA 50 STALKER 2003>, RUNNER 2004 -845611

7

Référence P2R Référence P2R
Référence constructeur Référence constructeur
Plus d'informations

Quantité requise : 1

CM110309 - DEMI POULIE

8

Référence P2R Référence P2R
Référence constructeur Référence constructeur
Plus d'informations

Quantité requise : 1

ECROU DE VARIATEUR ORIGINE PIAGGIO COMMUN A LA GAMME SCOOTER 50 CC -289519

9

Référence P2R Référence P2R
Référence constructeur Référence constructeur
Plus d'informations

Quantité requise : 1

RONDELLE DE POULIE MOTRICE (23x15x0,5) ORIGINE PIAGGIO COMMUN A LA GAMME SCOOTER 50 CC 2T ET 4T -265300

10

Référence P2R Référence P2R
Référence constructeur Référence constructeur
Plus d'informations

Quantité requise : 1

GALET/ROULEAU ORIGINE PIAGGIO APRILIA 100 SCARABEO 4T 2001> (JEU DE 6) -8296385

11

Référence P2R Référence P2R
Référence constructeur Référence constructeur
Plus d'informations

Quantité requise : 6

Tous les éclatés de ce véhicule

Filtrer :
Ou choisissez :