mobile menu icon P2R logo

Vehicle Exploded View - VESPA VESPA GTV 300 HPE E5 ABS RST 2023 (EMEA) VESPA

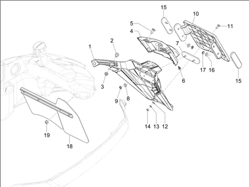
Châssis - parties plastiques - carrosseries : 02.37 COUVERCLE ARRIÈRE - PARE-BOUE
Couvercle arrière - Pare-boue
Search
1B012070 - ASSY SEAR MUDFLAT

1

P2R reference P2R reference
Maker reference Maker reference
More information

Quantity required : 1

CM179301 - VIS

2

P2R reference P2R reference
Maker reference Maker reference
More information

Quantity required : 2

012138 - ECROU S01213800

3

P2R reference P2R reference
Maker reference Maker reference
More information

Quantity required : 2

1B009635400Q03 - CACHE D'ECLAIRAGE DE PLAQUE

4

P2R reference P2R reference
Maker reference Maker reference
More information

Quantity required : 1

1B009635000XN2 - COVER

4

P2R reference P2R reference
Maker reference Maker reference
More information

Quantity required : 1

1B009635 - COVER

4

P2R reference P2R reference
Maker reference Maker reference
More information

Quantity required : 1

CM179301 - VIS

5

P2R reference P2R reference
Maker reference Maker reference
More information

Quantity required : 2

SCREW - FOR FAIRINGS FASTENING "PIAGGIO GENUINE PART" COMMON TO ALL THE RANGE -CM178601

6

P2R reference P2R reference
Maker reference Maker reference
More information

Quantity required : 2

5A000498 - CATADIOPTRE

7

P2R reference P2R reference
Maker reference Maker reference
More information

Quantity required : 1

SPACER- "PIAGGIO GENUINE PART" COMMON TO THE RANGE SCOOTER/MAXISCOOTER -479882

8

P2R reference P2R reference
Maker reference Maker reference
More information

Quantity required : 2

181351 - PLAQUETTE

9

P2R reference P2R reference
Maker reference Maker reference
More information

Quantity required : 2

1B010041 - PLATE HOLDER NEXUS

10

P2R reference P2R reference
Maker reference Maker reference
More information

Quantity required : 1

031057 - BOULON              S03105700

11

P2R reference P2R reference
Maker reference Maker reference
More information

Quantity required : 3

003055 - RONDELLE

12

P2R reference P2R reference
Maker reference Maker reference
More information

Quantity required : 3

016405 - RONDELLE S01640500

13

P2R reference P2R reference
Maker reference Maker reference
More information

Quantity required : 3

020105 - ECROU S02010500

14

P2R reference P2R reference
Maker reference Maker reference
More information

Quantity required : 3

294519 - CATADIOPTRE

15

P2R reference P2R reference
Maker reference Maker reference
More information

Quantity required : 2

SPACER- "PIAGGIO GENUINE PART" COMMON TO THE RANGE SCOOTER/MAXISCOOTER -479882

16

P2R reference P2R reference
Maker reference Maker reference
More information

Quantity required : 4

181351 - PLAQUETTE

17

P2R reference P2R reference
Maker reference Maker reference
More information

Quantity required : 4

620236 - PARE BOUE

18

P2R reference P2R reference
Maker reference Maker reference
More information

Quantity required : 1

NUT - FOR EXHAUST "PIAGGIO GENUINE PART" COMMON TO THE RANGE SCOOTER 50 CC -288245

19

P2R reference P2R reference
Maker reference Maker reference
More information

Quantity required : 2

All the exploded views of this vehicle

Filter :
Or choose :